Coupled EDEM-CFD Simulation
EDEM integrates fluid drag forces and torques into the particle simulation on an individual particle level.
When EDEM performs a step of the simulation, the external forces act upon the particles in addition to any gravitational or collision forces. The stages of the EDEM simulation loop are shown in the following diagram along with the point at which it interacts with the CFD solver.

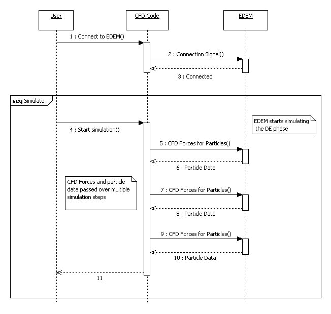
The CFD Coupling Simulation Sequence
The sequence of a coupled simulation is shown as follows, with the CFD Coupling Interface relaying information on CFD forces and particle data between the two solvers.

Once coupling is successfully initialized between EDEM and the CFD solver, EDEM is ready to start simulating (Steps 1-3). Simulation in EDEM will commence when the CFD solver sends fluid forces to apply to the particles in the simulation (Steps 5, 7, 9). If this is the first step of a simulation, and there are no particles on which you can apply forces, this step can be eliminated before starting the EDEM simulation-step.
After EDEM completes the simulation-step, you can retrieve the new or updated particle data from the simulation. This data is then returned to the CFD solver (Steps 6, 8, 10), in order to update the CFD solver’s variables and simulation. Any custom properties included in the simulation can be updated and retrieved by following a similar sequence at the beginning and end of each EDEM simulation-step.