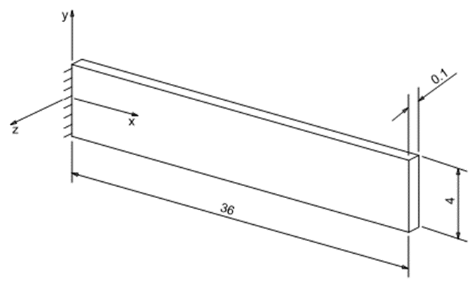
SS-V:2010 片持ち板の面内振動

テスト番号VM02 片持ち板の面内振動の固有周波数を求めます。

定義

1.


プレートの面外振動を排除するために、そのサーフェスはz方向に拘束されます(Uz = 0)。

単位はIPSです。

材料特性は以下の通りです:
特性
弾性係数
3e+7 psi
ポアソン比
0.3
質量密度
7.28e-4lb - s2/in4

結果

以下の表は、固有周波数の結果をまとめたものです。
理論値 SimSolid %差異
固有周波数 [Hz] 101.33 100.31 -1.01%
1 Roark, R.J. and Young, W.C., Formula for Stress and Strain, (New York:McGraw-Hill Book 6, 1982) pp. 576-578.